Connected to the mains, the filtered water fountain dispenses water quickly at the touch of a button.
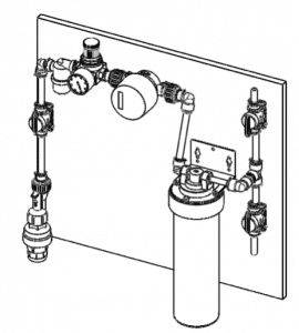
The water fountain has a mechanism similar to that of a sink faucet: it acts as the last component before consumption. The difference is that before leaving the machine, the water will pass through a series of components.
The water will thus undergo a series of steps once inside the equipment:
- The water is cooled;
- When it comes tosparkling water, it is carbonated by adding carbon dioxide.
- When the user presses the water dispenser, the outlet valve opens;
- The amount of water is recorded and distributed.
Our equipment is directly connected to the water supply in your premises: water flows at the user's request.
What is the path of water from a fountain?
Depending on the water functions (cold, room temperature, sparkling, and hot), the water's path differs:
The journey of water from the cool water fountain
- Water comes out of the filtration kit;
- The water passes through a stainless steel coil located in a water tank.
- A refrigerant in the copper coil cools the water in the tank. Through heat exchange, the water in the stainless steel coil is then cooled.
- At the consumer's request, water is dispensed chilled. It can be pre-dosed depending on the equipment.
The journey of water from the sparkling water fountain
- Water comes out of the filtration kit;
- The water is pressurized by the pump and then injected into the carbonator;
- CO2 is injected into the carbonator;
- The mixture is created and sparkling water is dispensed at the user's request (pre-dosed depending on the equipment).
The path of water from the temperate water fountain
- Water comes out of the filtration kit;
- At the user's request, ambient water flows out of the fountain. The water temperature varies depending on the mains water supply and can also be pre-set depending on the equipment.
The path of water from the hot water fountain
- Water comes out of the filtration kit;
- The water flows directly into the heating tank;
- At the consumer's request (by pressing both the "warm water" and "hot water" buttons simultaneously), the water comes out hot (temperature between 70°C and 90°C, adjustable at the customer's request).
What should you know about tap water?
Rest assured, theTap water can be consumed anywhere in France. Drinking water is themost strictly controlled food in France, so there is no need to be afraid. The water meets very strict standards set by the European Union and is subject to continuous health monitoring, from the point of collection in the natural environment to the user's tap.

No fewer than 300,000 water samples, around 12 million analyses, which are carried out each year in France by laboratories approved for water quality control by the Ministry of Health.
Each piece of CASTALIE equipment also CASTALIE a ACS (Certificate of Sanitary Compliance), which guarantees the quality system of our machines.
From one region to another, the taste of tap water is differentIt may vary depending on the properties of the rocks and soils it passes through.
The taste of tap water is the factor that most influences those who refuse to drink it. The taste can be modified through filtration, resulting in a neutral flavor.
But then, why filter water? We'll answer that question!
What is filtration?
By general definition, filtration is a process of separating a solid/liquid mixture through a filter medium.
How does water fountain filtration work?
At each stage of our system, your water will be filtered to achieve a neutral taste. This is made possible by the presence of several treatment stages throughout the water's journey.

At CASTALIE, a screen filter and an activated carbon filter are used to ensure effective water filtration.
The screen filter traps large particles that may be present in the water supply.
Apowdered activated carbon filter cartridge (made from coconut shells) is used to remove odors and tastes from the water (caused in part by chlorine and excess calcium) to produce a neutral-tasting beverage.

Activated carbon is becoming increasingly popular with the general public: it can be found in Binchotan charcoal sticks (made from Japanese oak) in water jugs, sold in many stores, particularly organic shops. Its appeal is legitimate, as it removes some of the taste and smell of tap water, which are often considered unpleasant.
At CASTALIE, 0.5µ membranes (for cold water) are used to filter tap water, while retaining the necessary elements to provide sparkling water.
For our hot water equipment, CASTALIE a filter (5µ filtration) with ion exchange resin which, in addition to its activated carbon filter, reduces the hardness of the water (calcium and magnesium ion content) and thus protects the heating element from limescale. This is the same type of filter used in coffee machines. This filtration is only used for hot water distribution.
Unlike a water cooler with a water bottle, a mains-connected filtered water cooler means you don't have to worry about plastic bottles. Between managing stock and placing recurring orders, you'll save a lot of time. Not to mention the environmental and aesthetic benefits!
Check out our comparison of mains-connected water coolers vs. water coolers with water bottles.
What does the CASTALIE fountain's cold and temperate water filtration system retain CASTALIE
For this water, the polyethylene membrane and natural coconut activated carbon provide microfiltered water.
CASTALIE filtration retains, in particular:
- suspended particles (sand, dust, etc.),
- chlorine and its derivatives,
- any heavy metals
In addition, the charcoal is specifically treated with silver ions to prevent the proliferation of bacteria.

What does the CASTALIE water cooler's hot water filtration system retain CASTALIE
CASTALIE quality also CASTALIE protecting equipment. In addition to retaining the same pollutants as activated carbon and polyethylene membranes, our ion exchange resin retains the elements responsible for limescale (magnesium and calcium ions).
By protecting you from these ions, our hot water filtration system ensures a long service life for the water cooler and protects the containers used.
Namely
Filters must be changed regularly. At CASTALIE, filters are changed by our technicians every quarter to ensure our customers have a system of impeccable quality.
Maintenance of our equipment is an integral part of our CASTALIE solution. Every quarter, a technician willservice your water fountain. This includes firstsanitizing the equipment with a biocide product. Next, the technician will change the water filter. These two actions eliminate all bacteria that may be present in the equipment. Cleaning the outside of the water cooler keeps the equipment clean and elegant.
To sum up
In summary,the microfiltered water coming out of our network of fountains is undoubtedly high-quality and tasty. Impurities are removed to provide consumers with purer water, free of particles and perfectly neutral.
CASTALIE water CASTALIE won over many restaurateurs and chefs, who recognize the unique neutrality of its taste, perfect for accompanying food and wine without detracting from a meal.
Would you like to learn more about filtered water coolers? Not sure which solution is right for your business, hotel, or restaurant? Feel free to contact us, and we will answer all your questions with no obligation on your part.
Discover our mains-connected water coolers!
Text: Marie Veyrenc

